- Back
- Band Saw Blades for Wood
- Scoring Saw Blades for Wide Band Saws
- 80 – Scoring Saw Blades for Band Saws

80 – Scoring Saw Blades for Band Saws
- for removing of bark from logs, while extending the lifespan of the band saw
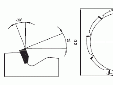
D | S | d | z | Geometry |
---|---|---|---|---|
180 | 5,0 | 20 | 9 | FZ N |
Tool advisory centre for circular saw blades, band saws for wood cutting
Have you not found the most suitable tool for your application?
Please, contact us, we will make them for you.